搜索 K
主题
主题
数据集成页面整合多源数据,通过这些集成数据助力矿山高效运营与管理。平台整合矿区环境、人员车辆、储量、挖填多源数据,实时呈现粉尘等环境指标,清晰展示人员车辆状态以利资源调配,同步生产数据辅助决策,能让管理人员全面掌握矿山运营情况,及时应对异常,保障矿山高效、安全运转。
点击左侧目录树【数据集成平台】【年度计划】,可以进行当年采矿计划的输入修改。

点击左侧目录树【数据集成平台】【产销流水】,可以看到矿山总储量数据,同时如果有接入地磅系统的话,系统收集到的数据可以直接录入显示,同时支持按需查询、手动编辑、删减、导出数据。

点击左侧目录树【数据集成平台】【数据录入】,可以手动录入产销数据。接入地磅系统的可以实现数据自动录入,而没有接入任何数据系统的需要手动录入数据。
注: 产销量输入时只需输入纯数字。 
点击左侧目录树【数据集成平台】【地磅系统】,可以看到地磅系统所有的数据。

点击左侧目录树【数据集成平台】【历史数据】,可以自由选择时间段,可以看到生产数据曲线,光标移动放置到曲线上时可以获得当时间段的产销数据。
右侧小工具可以进行区域缩放、区域缩放还原、还原、保存为图片。

三维地质模型可以展示矿山的不同时期的开采状态。主要包括初始模型、过程模型、终了模型;过程模型主要是使用无人机倾斜摄影技术对矿山进行三维建模。
点击左侧目录树【矿山三维模型】【模型总览】,系统将显示最新的倾斜摄影模型,同时将摄像头、声光报警、环境监测等设备显示在模型上。

管理后台:点击左侧目录树【矿山三维模型】【矿山三维模型】,系统将显示各期的三维模型,默认为最新的倾斜摄影模型。
每当系统更新季度三维倾斜摄影模型时,该季度的挖方量、累计挖方量以及各期挖方量的历史数据也将记录在内。选择一个过程模型,点击右侧图标,可以查看模型数据详情。
模型都可便捷的自定义颜色情况。


点击模型目录【初始模型】,矿山将恢复到初始开采时的状态,点击右侧图标,可以查看矿区总方量、不同岩层的方量。


点击模型目录【拐点】,可以看到图上所有拐点,模型上显示采矿许可证上规定的拐点信息,点击右侧图标,可以查看点号详细信息。


点击模型目录【钻孔&剖面线】,各个钻孔及剖面线的位置走势,点击右侧图标,可以查看各钻孔的基本信息(表格形式)。


点击模型目录【地质模型】,可以分别勾选查看矿山中地质体,三维空间中各地层、岩性的分布。

点击模型目录【XXXX-XX-XX倾斜摄影】,可以查看不同时期的倾斜摄影模型,以及当期对应的剩余可开采的矿体。


点击模型目录【填挖模型】,可以查看整个矿山的挖填情况,可以分别勾选挖填方体,还可以改变不同的颜色。

点击模型目录【季度变化】,可以通过三维模型,更直观的展示矿山以最少一个季度为周期的挖填情况,可以根据需求改变颜色。

点击模型目录【终了模型】,可以查看该矿山的终了模型,终了模型上的数值即对应台阶高度。

勾选模型左上角的‘界桩’,可在模型上显示采矿许可证上规定的拐点位置和信息。

在【矿山三维模型】目录下,同时选中两个或多个模型,通过调整不同模型的颜色和透明度,以及适当调整模型视角,可以观察模型之间的变化情况。

点击左侧目录树【矿山三维模型】【地下矿山三维模型】,点击左上角可以分别勾选不同的图层,比如巷道、模型、底图,可以进行分别查看也可以一起查看。

点击模型目录【动态模型】,动态播放各个时期的模型,可以观看不同时期矿山的状态,默认为最新的倾斜摄影模型。

点击左侧目录树【矿山三维模型】【边界管理】,系统将显示边界管理界面。

边界主要分为这些类型:爆破影响范围、施工区、矿界、一级橙色预警线(5米)、二级黄色预警线(10米)、预警线(20米)、预警线(50米)、地形裁切边界。
对于矿界,点击'边界管理',会弹出边界详情数据:

点击'录入边界',会弹出录入边界的界面,支持剪切板内容识别(将坐标点放在剪切板中,点击一下'识别剪切板内容'),系统会自动填入坐标值,方便快捷。

点击'编辑顶点',可以直接对对应的边界内容和数据进行编辑,*内容为必填,也可以直接识别剪切板内容输入。

点击左侧目录树【三维矿山模型】【电子围栏】,系统将在最新的地质模型基础上显示距离矿界5米、10米和红色边界线的范围栏。当车辆超越10米围栏时,系统将发黄色预警短信给相关的负责人;当车辆超越5米围栏时,系统将发红色预警短信给相关的负责人。

点击左侧目录树【矿山三维模型】【矿山图件】,可以对矿山模型相关的图片文件进行管理。

点击左侧目录树【矿山三维模型】【坐标拾取工具】,在图上移动图标即可拾取坐标。可以在快捷复制后面部分直接复制经纬度进行使用。

智能化矿山的智能卡车调度系统,依托物联网 AI 及 GIS 技术,联动车载终端、矿区传感器等,实时掌握卡车位置、矿量、路况。动态优化运输路线与装卸调度,减少空驶和等待,提升运矿效率,同时监控驾驶安全与设备状态,助力矿山运输降本增效、安全可控。可全自动监测车辆运输状态,涵盖运输轨迹、载重曲线、运单状态,还能自动计算车辆次数与油耗。结合挖机任务饱满度,通过智能搜索最短路径实现全自动调度,高效统筹矿山运输各环节,提升运输管理效率与精准度。
点击左侧目录树【智能卡车调度】【场地总览】,查看场地总体情况。

点击左侧目录树【智能卡车调度】【车辆调度】,为每辆车规划线路,司机端可以通过 App 维护工作状态,系统通过一系列调度策略进行自动路线规划,管理员可以在后台这个页面看到规划好的路线,也可以在真实调度页面修改自动规划的路线。
注意:

点击左侧目录树【智能卡车调度】【调度记录】,可以筛选查看所有车辆调度的记录。

点击'查看轨迹',可以看到当次调度的轨迹图。

点击左侧目录树【智能卡车调度】【场地设施与障碍物管理】,右上角工具栏可编辑(障碍物、设备、设施路线、标记点)。障碍物功能可以用来配置场地中车辆无法通过的地方,比如水塘之类的,调度的时候会绕过。

红框部分选择放置内容(障碍物、设备、设施路线、标记点),然后再图上点击放置,可以使用点击‘撤销’进行撤销,或者也可以使用鼠标右键点击删除最后的一个点,需要取消撤销时点击‘重做’,然后根据需求设置权重、是否启用、是否无法通行。制作完成之后,点击‘预览’,之后点击‘保存’。

点击左侧目录树【智能卡车调度】【模拟车辆调度】,可以手动拖动车辆,系统会自动规划线路并匹配挖机。模拟车辆调度主要用来测试最短路径算法及障碍物绕过算法是否工作正常,这个页面目前仅将最近的铲车挖机两两组合,暂不涉及最短路径调度算法。
后台管理车辆调度页面能够清晰展示及管理铲车-挖机的调度关系。

智能化矿山消息触达平台,整合矿山生产、安全、设备等多维度预警与通知信息,依托移动端、大屏、语音等多渠道,实现信息精准推送。能实时传递设备故障、安全隐患、作业调度指令,确保管理人员、一线人员及时接收,打破信息壁垒,保障矿山生产协同高效、风险处置快速及时。
点击左侧目录树【消息触达平台】【首页】,点击对应按钮可以进入【发送消息】、【发送历史】页面。

点击左侧目录树【消息触达平台】【播报消息】,可以用来测试声音播报,在编辑框中输入播报报文,点击【点击播报】。

点击左侧目录树【消息触达平台】【发送消息】,可以选择不同的筛选方式(单个系统联系人添加、按职责选择一组联系人、手动输入联系方式)选择单个或者多个联系人,按照不同的短信模板配置并发送短信。

特别说明:
此功能依赖阿里云短信服务,受阿里云短信发送规则和相关法律法规限制,仅用作紧急情况下的消息触达,不得使用其发送违法信息。短信送达情况依赖阿里云及对应电信服务提供商,极端情况或不可抗力因素下,第三方服务可能延迟或中断等(小概率情形)。
以下是阿里云对短信发送的限制:

点击左侧目录树【消息触达平台】【发送任务管理】,可以查看短信发送计划的有关记录。

点击左侧目录树【消息触达平台】【短信发送历史】,可以查看短信的发送历史。

点击左侧目录树【消息触达平台】【接受用户管理】,可以查询、筛选、编辑或者增减接收短信的用户,同时支持以文件的形式导出数据信息。

点击左侧目录树【消息触达平台】【短信模板管理】,可以进行短信模板的管理。

数据监测平台可监测环境项(PM 2.5、PM 10 等)、人员定位(含经纬度、速度等设备数据)、车载定位(载重、油量等设备数据),支持数据筛选、趋势图表展示与文件导出,为矿山环境、人员、设备的智能化管理提供数据支撑。
点击左侧目录树【数据监测平台】【查看数据】,再点击不同的车辆定位设备、人员定位设备、环境监测设备,可以选择不同的时间段和数据项,系统将显示相应的数据曲线。
可以对图形进行一些自定义显示:平滑、过滤空值点、过滤零值点、突出显示数据点、x 轴作为时间轴、y 轴脱离零值比例,下方滑块可以任意拖动显示不同时间的数据图形。图形调整到合适之后可以选择不同格式导出(支持 xlsx、xls、csv、html、txt、json、rtf 格式导出) ,便于数据图形后续的使用。




点击左侧目录树【实时定位系统】【轨迹查询】,可以查询人员和车辆以及各种定位设备的运动轨迹。
上方工具栏可以根据不同的筛选条件(经过点点数、时间)去筛选查看轨迹,还可以进行一些不同的显示情况设置(轨迹贴地、显示起止点)。


点击左侧目录树【预警管理中心】【总览】,可以查看所有的预警分级汇总、所有预警列表、以往预警数据情况汇总。可以直接点击'手动处理'按键,一键跳转至预警处理页面。也可以点击'查看全部'按键,直接跳转至所有预警历史界面。

点击左侧目录树【预警管理中心】【预警处理】,可以查看所有的预警列表,支持按预警时间和预警等级筛选预警情况,也可以点击'预警批处理'按钮跳转至批量处理页面,在具体预警标签内可以直接点击'闭环处理'跳转至该预警详情并进行手动处理。

点击左侧目录树【预警管理中心】【预警历史】,可以查询和筛选所有的历史预警详情,按需以文件的形式导出历史预警详情。

点击左侧目录树【预警管理中心】【预警总开关】,可以设置是否启用超挖超填、越界、异常高度预警。
注意:

点击左侧目录树【预警管理中心】【监测设备预警设置】,可以对不同设备(边坡定位设备、车载定位设备、人员定位设备、降雨测量设备、粉尘监测设备、分贝仪、环境八项监测设备、视频监控设备等)进行不同监测项的预警参数设置。

点击左侧目录树【预警管理中心】【定位设备预警规则配置】,可以设置是否启用超挖超填、越界、异常高度预警,并针对单个或者多个设备进行预警项和预警参数设置。

点击左侧目录树【预警管理中心】【考勤超时预警设置】,可以设置考勤超时预警时间。

点击左侧目录树【预警管理中心】【预警附件】,可以筛选查看、编辑、删减、导出有关预警的相关信息内容。

点击左侧目录树【预警管理中心】【闭环处理】,点击‘查看详情’可以查看对应预警的详细情况;点击‘处理’可以对预警进行评论、审核、上传相关图片等操作;点击‘查看关联预警’可以直接跳转至预警历史的对应预警的详情。

点击左侧目录树【资源管理中心】【人员管理】,可以进行新增、查询、编辑、导出等操作。

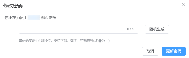
点击‘重置密码’可以给对应员工修改登录密码。

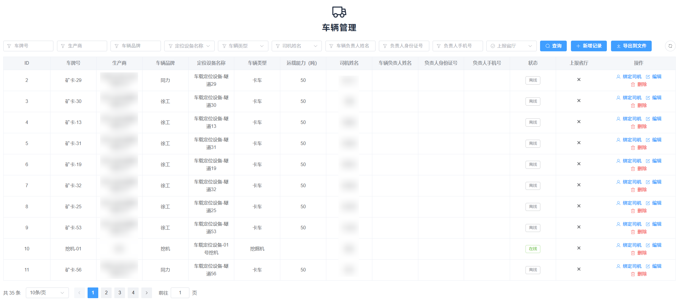
点击左侧目录树【资源管理中心】【车辆管理】,在此页面可以浏览车辆和对应绑定的司机信息、查看车辆在线状态、筛选查询所需信息、增减车辆信息记录、另外可以直接以文件的形式导出所需信息。

点击‘绑定司机’,可以给当前设备绑定一位已经录入系统的员工作为司机。
resource-vehicle-setting
点击左侧目录树【资源管理中心】【绑定关系】,在此页面可以直观的浏览车辆和对应绑定的司机信息,可以拖动浏览关系图,也可以自行设置绑定关系。

点击左侧目录树【设备管理中心】【设备总览】,在此页面可以查看所有的设备情况,左上角部分,点击可以直接跳转至对应的模块。

点击左侧目录树【设备管理中心】【设备管理】,可以查看所有的设备详情,对设备进行关联车辆、查询、编辑、增减、导出。

点击设备对应操作栏的‘编辑’,可以自定义设备图标的颜色,修改设备名称、设备类型、设备 ID、经纬度、承建商、生产商,以及勾选是否上报应急厅/自然资源厅。

点击车辆设备后操作栏的‘关联车辆’,可以进行车辆的关联设置,可以直接选择车辆进行关联,同时可以修改关联车辆的信息,也可以创建新车辆并关联,左下角可以随时解绑已关联的车辆。操作完成之后点击‘提交’进行保存设置。

点击上方‘导入摄像头’,可以从不同的平台(需要硬件支持并进行对接)中导入相关摄像头的数据进入本系统,勾选对应设备并点击‘导入’即可。

点击视频监控设备后操作栏的‘视频流管理’,在平台栏可以进行视频流平台选择,其他视频流相关内容也在本页面进行设置。

点击左侧目录树【设备管理中心】【声光报警控制】,可以进行声光报警,选择需要报警的设备、播报方式(按次数播报、时长播报)、播报次数/时长,然后输入需要播报的内容(待转化为语音的文本内容),之后点击开始播报就会在对应的设备上进行显眼的灯光闪烁和输入内容的语音广播。

可以在右下角,点击‘常用语’,选择一些常用的语句。

点击左侧目录树【企业资料库】【文档资料上传】,可以进行文档资料的上传操作,可以按月份查看企业文档资料上传情况。

点击左侧目录树【企业资料库】【文档资料管理】,可以进行文档资料的管理操作。

安全监管平台包含矿山数据上报(向自然资源厅、应急厅报基础数据)、数据上报记录(记最近 2 万条上报记录)、自然资源厅指令反馈功能,助力矿山安全监管数据管理与指令响应。
首页可以直接跳转至对应功能,也可以从左侧目录栏进入。 
点击左侧目录树【安全监管平台】【数据上报记录】,本页提供安全数据有关所有内容,可以根据需求点击跳转。

点击左侧目录树【安全监管平台】【矿山数据上报】,这里是向自然资源厅或应急厅上报矿山的基础数据,这里记录了最近上报的2万条记录。

点击左侧目录树【安全监管平台】【自然资源厅指令反馈】,在此可以接收自然资源厅反馈的指令。

数据开放平台支持企业内部各系统间的数据对接与共享,同时也可面向外部合作伙伴或第三方平台开放数据服务,实现数据的最大化利用与价值挖掘。 平台通过权限控制与访问日志、等安全机制,保障数据的安全性与合规性。助力企业打破信息孤岛,提升数据流转效率,为决策提供全面、实时的数据支持。
可在首页直接跳转至所需功能页面。

可根据文档详细说明进行操作。

点击左侧目录树【数据开放平台】【密钥管理】,可以对密钥进行管理。
备注:

点击左侧目录树【运输管理中心】【运输记录】,系统将显示车辆相关的运单情况。 可以直接筛选某辆车的所有运单,还可以通过“运输单证号”、“单证状态”、“运输状态”“审核状态”、“是否计数”等进行筛选:

点击‘运输轨迹’,查看当前运单的运输轨迹。

点击‘载重曲线’,查看当前运单的载重曲线。

点击‘查看详情’,查看当前运单的详细信息。

点击‘修改运单’,修改当前运单。

系统会自动录入运单,偶尔有需求时也可以进行手动输入,点击‘手动补单’,既可以手动补充新运单。

点击左侧目录树【运输管理中心】【运输报表】,可以查看车辆和设备统计的运输情况。可以使用上方自定义时间设置,也可以直接点击下方蓝色字体进行快速选择时间。

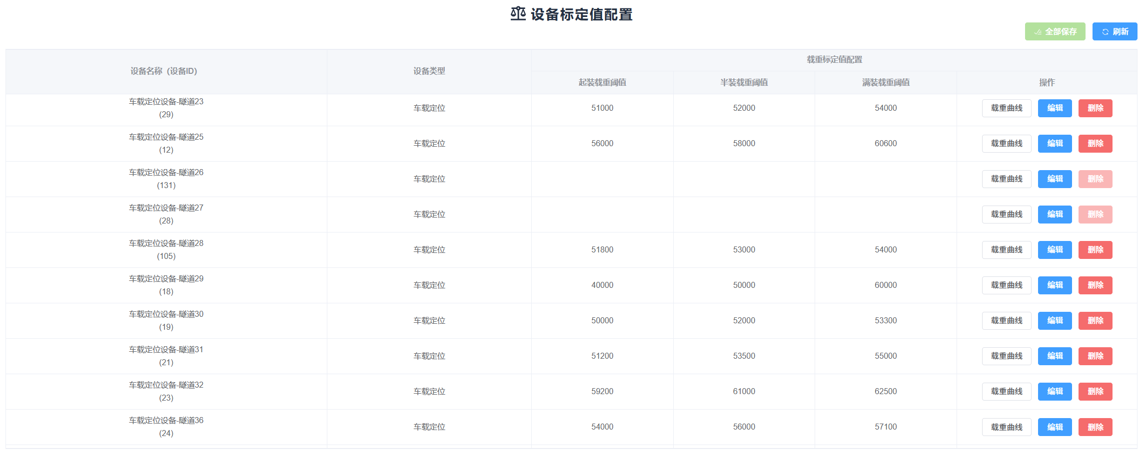
点击左侧目录树【运输管理中心】【设备标定值设配置】,正确设置了起装、半载、满装载重阈值,车辆就可以自动计数生成运单。

点击'载重曲线',用于观察曲线形态,用于获取满载阈值、半载阈值和起装阈值。

点击'编辑',起装阈值、半载阈值和满载阈值将处于编辑状态,编辑完成后需要及时保存。点击'删除',将删除对应车辆的起装阈值、半载阈值和满载阈值,删除后对应的车辆将不参与自动计数。

点击左侧目录树【运输管理中心】【油耗统计】,在油耗统计的三个条状图中(今日单车总油耗 Top 10、近一周单车总油耗 Top 10、燃油经济性),系统自动统计今日、一周内油耗数据的前十辆车,以柱状图的形式明确直观的展示出来。最右侧图是燃油经济性柱状图,分别展示每辆车近一周和一月使用一升燃油可以运行多少公里,以此展示车辆的燃油经济性。还有实时记数的今日总油耗和近七日油耗总量数值显示。

点击左侧目录树【预警管理中心】【考勤总览】,在此页面可以总览考勤情况,以柱状图的形式展示考勤人数和工时。同时也可打通企业现有门禁、考勤系统,实现数据统一处理。

点击左侧目录树【预警管理中心】【考勤记录】,可以查看人员考勤详情。

点击左侧目录树【预警管理中心】【考勤超时预警设置】,可以设置考勤超时预警时间。

管理人员在后台进行学习资料和考试管理。可以通过首页跳转、材料管理、题库考试管理及阅卷,规范安全知识传递,强化人员素养,筑牢安全生产基础。
点击左侧目录树【安全教育中心】【首页】,总览安全教育中心所有板块,可供直接跳转。

点击左侧目录树【安全教育中心】【学习材料管理】,进行学习材料的上传、查询、编辑和删除。

点击'新增材料',可以增加学习材料,支持文字、链接、图片、视频,或者直接以文件形式上传,编辑完成后同步到 App 端供矿山人员学习。

完成新增材料之后,点击'预览',可以在右侧整体预览学习材料。

点击左侧目录树【安全教育中心】【题库】,进行题库管理。 点击'新增题目',进行题目的手动录入。题目类型、题干、答案、分值是必填内容,其他内容可以选填。


点击左侧目录树【安全教育中心】【考试管理】,进行考试试卷、时间、发布管理,同样可对考试进行筛选查询。

点击'新增考试',进行考试信息和内容的录入。
注:*为必填内容,其余选填即可。考试结束时间必须要在考试开始时间之前。

点击'选题',开始编辑试卷。

点击'复制试卷',可以直接生成一个原有试卷的副本,不需要再次设置试卷情况和题目。
点击'试卷预览',可以进行试卷的预览,确认无误之后可以点击发布。
试卷在考试开始前后皆可修改,但是考试开始后修改会打回当时正在考试人员填写的试卷,修改完成后才可正常作答。考试时间开始之后,参考人员可在 App 上参与考试。

点击左侧目录树【安全教育中心】【阅卷】,可以筛选查看所有完成的试卷,点击'阅卷'可进行对应试卷的批阅,选择题已经由系统自动批阅,手动只需要批改填空题和简答题,根据参考答案和解析综合进行给分,打分完成之后点击'确认批阅'。


点击【学习材料附件】,可以管理学习材料的附件。

点击【风险分级管控】【安全风险四色图】露天矿山在工业广场总平面布置图、开拓系统与采剥工程平面图的基础上,依据按照空间确定的风险点开展的风险辨识、风险分级结果,形成固有安全风险(静态)四色分布图。

点击左侧目录树【智慧大屏配置】【大屏授权码】,可配置访问授权码,避免核心生产数据泄露。
需要注意的是:

点击【智能巡检】【巡检反馈】,可对巡检进行管理,查看巡检的详细情况。

点击'添加反馈',可以在后台手动上传巡检反馈单。

点击'处理反馈',可以在后台查看反馈,并进评论/审核处理,支持上传相关文件或者图片。

点击'查看关联预警',会自动跳转至对应预警历史,查看详情或者进行闭环处理。

点击【智能巡检】【反馈工单列表】,可以查看管理所有的反馈工单情况。

点击【智能巡检】【反馈工单附件】,可对巡检反馈的附件进行管理。

点击【报告资料库】【检测报告】,可以查看管理所有检测报告。

点击‘添加检测报告’或‘编辑’,进行报告添加或修改,行为检测项,列为参数项,增减设置好之后,只需填入数值即可,可以进行点击修改,新增/修改完成之后点击提交。


点击‘查看详情’可以进行预览。

点击【报告资料库】【检测标准】,可以查看检测标准

点击‘添加检测报告’或‘编辑’,进行标准添加或修改。

点击‘查看详情’可以进行预览。

模型的更新及维护建议由我们提供模型更新服务,只需将无人机飞行的倾斜摄影模型提供给我们即可。
注意: 如需自行维护,点击【基础数据维护】【系统模型维护】,会有风险提示,点击“我已知晓风险,仍然修改”。

第一级如果是【模型】,可以直接链接对应的倾斜摄影模型;如果是【分组】意味着其下可以挂接子模型,在右侧设置对应的参数就可以了。

点击【基础数据维护】【模型视口管理】,弹出界面显示大屏中已经配置的视口,我们可以预览模型视口,并将常用的视口配置到智慧大屏显示界面。

点击‘编辑’,会弹出如下菜单,可以修改视口名称或者类型。
点击‘使用当前视口更新记录值’会将右侧图形对应的视口参数配置到当前视口。
点击‘手动编辑视口’,可以手动调整视口参数。

点击左侧目录树【系统管理】【用户管理】,可以进行用户的管理,并编辑单个账号信息和权限。


点击左侧目录树【系统管理】【角色管理】,可以进行角色的管理。

点击左侧目录树【系统管理】【权限管理】,可以进行角色权限的管理。
注意: 若指定角色拥有 [授权权限],那么该角色下的用户可以修改其下级角色权限。

点击左侧目录树【系统管理】【菜单管理】,对后台管理菜单目录进行管理,对菜单移动排序、编辑、增减、导出导入、批量处理,可以个性化定制企业需要的后台管理平台。

点击左侧目录树【系统管理】【系统文件管理】,在此可以管理所有的系统文件,进行预览、增减、修改、下载等操作。

点击左侧目录树【系统管理】【系统设置】,可以进行大屏刷新、客户端网桥大喇叭测试、巡检单开关管理。

点击左侧目录树【系统管理】【系统日志】,可以查看系统日志。

点击左侧目录树【系统维护】【硬件数据上报模拟器】,可以手动移动车辆定位设备的位置并进行上报。
注意: 线上数据库慎用! 拖动后会向 LocatorData 表中插入一条记录,并会触发后续 judgeAlertModel 系列逻辑,包含设备数据上报,预警判断及发短信等。

点击左侧目录树【系统维护】【设备图标预览】,预览设备各种状态的图标情况。
![]()
点击左侧目录树【关于站点】【站点信息】,可以编辑该站点的信息。
注意: 必须输入正确的内容,这部分内容是要向省厅上报。
